?!DOCTYPE html PUBLIC "-//W3C//DTD XHTML 1.0 Transitional//EN" "http://www.w3.org/TR/xhtml1/DTD/xhtml1-transitional.dtd">
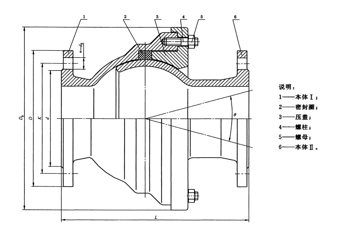
名称QE型球形补偿接? 标签Q?/strong>
球Ş补偿器的安装方式1、直U管D能充分发挥球Ş补偿器补偿能力大的特炏V根据管子规g子的刚性,可将道两端固定支架的距d?0m~70mQ安装一l球形补偿器Q其安装方式可以水^安装Q也可以垂直安装?br/>2、由于这U型式其折屈角值增大一倍,可羃短球心距Q充分发挥球形补偿器的补偿能力。此U型式适用于将球Ş补偿器设在两个固定支架两端,M端固定支架近点的地方?br/>3、双向式安装适用于球形补偿器讑֜两固定点两端Q较为适中的位|,量使AD늮道长度与BD늮道长度相接近或距R这U安装方式适用于长距离直线道Q可采用水^面安装,亦可采用垂直安装?/p>
球Ş补偿器是解决道热胀L的一U设备,可广泛应用于冉、石沏V化工、电力、轻工、hl、徏{和国防{行业中Q具体用途如?Q?br/>1、用于热力管道中Q补偿热膨胀Q其补偿能力为“冂”补偿器?-10倍?br/>2、用于火发台、飞机排气设施上Q补偿冲击膨胀?br/>3、用于冶金设备(如高炉、{炉、电炉、加热炉{)的汽化冷却系l中Q作万向接头用?br/>4、用于徏{物的各U管道中Q防止因地基产生不均匀下沉、或地震{意外原因对道产生破坏?/p>
如需最新数据请联系在线客服
E型球形补偿接?/a>
E2型双球补偿接?/a>
D型大挠度伸羃接头
套筒补偿?/a>
沛_良众业有限公司 手机P18638277136 Q?371-64018718 传真Q?nbsp;0371-64018718 邮箱Q?50165323@qq.com 地址Qm义市西村镇西?nbsp; |址Q?a href="http://m.szheyu.cn" target="_self">http://m.szheyu.cn
咨询报hQ?8638277136(陈?
技术指|13849173666(陈工Q?/p>
邮箱Qhnlzpipe@126.com
国内热线Q?371-64018718
地址Qm义市西村镇西?/p>
|址Qhttp://m.szheyu.cn
许可证号Q?豫ICP?8020186?/a> 技术支持:良众|络?/p>